原国足主帅李铁妻子龙菲被曝拒退2.7亿赃款,准备在美国起诉离婚

李铁妻子被曝拒退2.7亿赃款,准备离婚
1月9日晚,反腐专题片《持续发力 纵深推进》播出,收视率力压《繁花》收获更多关注。这一集中披露了中国国家男子足球队原主教练李铁等足球领域系列腐败案,引发网友关注。有媒体报道其涉案金额超2.7亿元,并且牵扯多位足球相关人员。
1月11日,据封面新闻报道,李铁的妻子龙菲在李铁被带走调查后不准备退还赃款,并准备和李铁离婚。此前也曾有消息传出,李铁妻子早已前往美国。
作为中国国家男子足球队原主教练,李铁除了执教期间行贿受贿的非法收入所得外,其个人的商业版图也极其庞杂且均与体育关联密切。
2020年李铁调任国家队主教练后,依旧和武汉卓尔俱乐部签订了劳动合同,年薪税后3000万,且还有3000万的签字费,分五年支付。而根据2013年我国足球协会的规定,国字号教练是不允许在俱乐部兼职的。
除了在国家队执教时期的敛财,李铁还将沈阳的公益8号公园常年据为己有,通过建造青少年足球训练场和出租承办体育活动,每年营业额高达数千万。根据李铁8号足球公园微信官网账号,其运营主体为沈阳李铁足球俱乐部有限公司,该公司的法定代表人为李铁妻子龙菲,李铁在该企业担任执行董事。
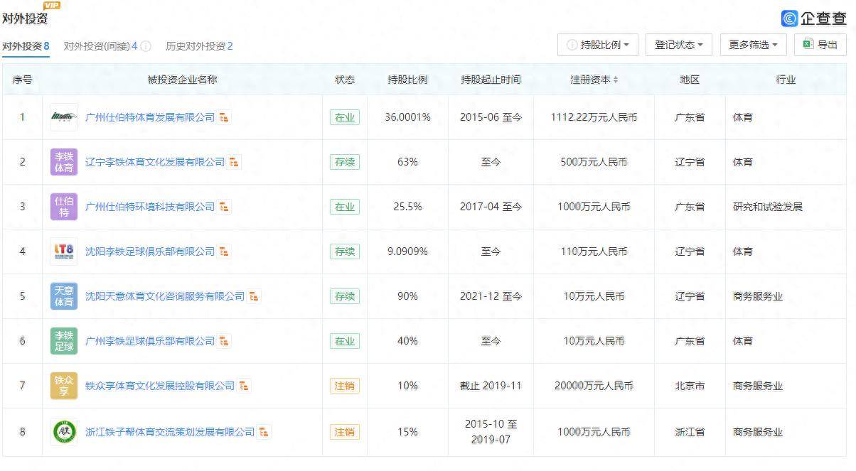
根据记者检索企查查信息显示,李铁对外投资8家公司,其中目前有2家注销,6家存续。
李铁个人分任辽宁李铁体育文化发展有限公司和沈阳李铁足球俱乐部有限公司两家公司的执行董事一职。而其妻子龙菲则在李铁持股投资的3家公司中分任经理和执行董事一职,并担任法定代表人。而这些公司均与体育相关,涵盖足球培训、球员经纪与场馆运营等各个环节。

李铁对外投资企业信息。

龙菲担任李铁投资公司的法人。
此外,因此前“民间借贷纠纷”,李铁曾两度卷入司法案件中,涉及金额达39万余元。
如今的李铁,在反腐专题片中表示:“我是非常后悔的,还是要踏踏实实,也要走正路”。
李铁恐怕做梦也没有想到,自己辛苦数十年积攒的积蓄,一夜间将被妻子卷跑!今天有媒体爆出猛料,李铁的妻子龙菲准备与他离婚,对于身陷囹圄的李铁来说,他的问题非常大,不仅在2家俱乐部打假球,在国家队主教练的位置上,也是变相收取了巨额的资产,据悉李铁这10多年来涉案的资金可能会达到2.7亿元,但未来这些钱或许都与他没有关系了!

点击输入图片描述(最多30字)
李铁的妻子除了准备离婚之外,她还拒绝退还这2亿多元的赃款,如果是这样的话,那李铁的处罚不会有任何的减免,以他涉案的金额,刑期恐怕至少会在10年以上,甚至是无期,也难怪他的妻子会在这个时候提出离婚了。但李铁现在也是左右不了了,他最终的结局可能就是人财两空,尽管李铁非常有能力,但是在场下他的所作所为也是给中国足球,造成了无法挽回的损失,没想到这个时候他的妻子非但不退赃,还要卷款跑路,知道这个消息的李铁,现在后悔也来不及了,等待他的只能是无尽的忏悔吧!
◐◐◐◐●☛█▼▲豪仕法律网HTtp://Www.79110.net◐◐◐◐●☛█▼▲◐◐◐◐●☛█▼▲
